Новости

ГИДРОУсилитель рулевого управления тракторов МТЗ-80 (МТЗ-82). ГУР МТЗ

ГИДРОУСИЛИТЕЛЬ РУЛЕВОГО УПРАВЛЕНИЯ ТРАКТОРОВ МТЗ-80 (МТЗ-82). ГУР МТЗ-80 (МТЗ-82). РУЛЕВАЯ КОЛОНКА МТЗ-80 (МТЗ-82).

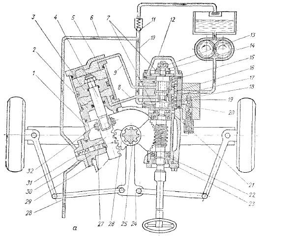
Гидроусилитель рулевого управления МТЗ предназначен для снижения усилия, прикладываемого трактористом к рулевому колесу, и улучшения маневренности трактора. Он является промежуточным механизмом, с помощью которого осуществляется как механическая, так и гидравлическая связь между рулевым колесом и направляющими колесами трактора. В данном механизме угол поворота управляемых колес пропорционален углу поворота рулевого колеса.

Механизм рулевого управления МТЗ-80 (двухзаходный червяк и косозубый сектор) и гидроагрегаты (распределитель, силовой цилиндр, датчик механизма блокировки дифференциала и бак гидросистемы усилителя рулевого управления) смонтированы в одном узле, который установлен перед радиатором двигателя трактора. Снаружи гидроусилитель ГУР МТЗ закрыт облицовкой радиатора.

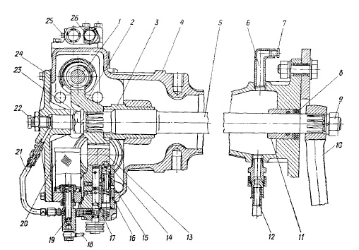
Гидроусилитель рулевого управления трактора МТЗ-80 (МТЗ-82): 1 — червяк; 2 — сектор; 3 — верхняя втулка; 4 — корпус; 5 — поворотный вал; в — спускной патрубок; 7 — сливная пробка; 8 — манжета; 9 — гайка сошки; 10 — сошка; 11 — нижняя втулка; 12 — всасывающий трубопровод; 13 — рейка; 14 — упор рейки; 15 — золотник датчика блокировки дифференциала; 16 — регулировочные прокладки; 17 — поворотный кран датчика блокировки дифференциала; 18 — трубопровод клапана; 19 — корпус клапана; 20 — сливной фильтр; 21 — подводящий трубопровод; 22 — регулировочный болт; 23 — гайка; 21 — верхняя крышка; 25 — пробка; 26 — колпачок предохранительного клапана.

  Гидроусилитель рулевого управления трактора МТЗ-80 (МТЗ-82) имеет отдельную гидравлическую систему, состоящую из следующих узлов:

  • бака для рабочей жидкости, роль которого выполняет внутренняя полость корпуса гидроусилителя МТЗ
  • шестеренного насоса НШ-10ЕУ левого вращения, установленного на двигателе с левой стороны в передней части и приводящегося в движение от шестерен распределения двигателя, распределителя, корпус 17 которого прикреплен болтами к корпусу гидроусилителя МТЗ, а золотник 21 посажен на хвостовик червяка 22
  • силового цилиндра, шток 4 которого через рейку 31, сектор 26, вал 25 и сошку 24 передает движение на рулевую трапецию
  • шарикового предохранительного клапана
  • датчика механизма блокировки дифференциала, корпус которого прикреплен болтами к корпусу гидроусилителя и выполняет роль упора рейки 31, и редукционного клапана 11, поддерживающего давление 0,8 МПа на входе в датчик блокировки дифференциала

Червяк 1 и косозубый сектор 2 механизма рулевого управления, распределитель, силовой цилиндр, датчик блокировки дифференциала и сливной фильтр 20 гидросистемы усилителя руля расположены в верхней части корпуса 4, установленного впереди радиатора. Сверху корпус усилителя руля МТЗ закрыт крышкой 24, в центре которой ввернут регулировочный винт 22, ограничивающий осевое перемещение поворотного вала 5. Кроме того, в крышке 24 имеется заливное отверстие с заливным фильтром и масломерным стержнем. Размер ячеек сетки сливного фильтра значительно меньше, чем заливного.

Распределитель гидросистемы руля следящего типа, клапаннозолотниковый, с одним золотником и предохранительным шариковым клапаном прямого действия и установлен на оси червяка 1 рулевого управления.

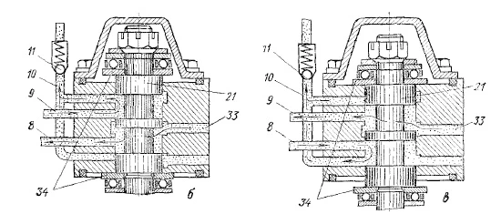
Схема гидроусилителя рулевого управления трактора MT3-80 (МТЗ-82): а — нейтральное положение; б — поворот вправо; в — поворот влево; 1 — корпус гидроусилителя; 2 — задняя крышка цилиндра; 3 — поршень; 4 — шток; 5 — передняя крышка цилиндра; 6 — трубопровод клапана блокировки; 7 — упорный подшипник; 8, 9 к 10 — трубопроводы; 11 — редукционный клапан; 12 — крышка корпуса; 13 — сферическая гайка; 14 — шайба; 15 и 16 — пружина золотника; 17 — корпус распределителя; 18 — ползуны; 19 — клапанная коробка; 20 — направляющая предохранительного клапана; 21 — золотник распределителя; 22 — червяк; 23 — регулировочная втулка; 24 — сошка; 25 — поворотный вал; 26 — сектор; 27 — золотник датчика блокировки; 28 — трубопровод датчика; 29 — регулировочные прокладки; 30 — упор рейки; 31 — рейка; 32 — палец; 33 — трубопровод от насоса к распределителю; 34 — шайбы (кольца) подшипников.

Золотник 21 имеет внутреннее сквозное отверстие диаметра большего, чем диаметр хвостовика червяка 22, на величину возможной регулировки зацепления червяка и сектора. На хвостовике червяка с обоих торцов золотника расположены упорные шариковые подшипники 7, зажатые между парой шайб. Крепление золотника на хвостовике червяка осуществляется сферической гайкой 13. Этой гайкой регулируют зазор между кольцами подшипников и торцами корпуса распределителя. В эти же кольца (шайбы) упираются ползуны 18, которые удерживают золотник в нейтральном положении.

Золотник 21 помещается в цилиндрической расточке корпуса распередилителя 17, к которому крепят болтами крышку 12 и клапанную коробку 19, уплотненные резиновыми кольцами. В корпусе 17 имеются еще три расположенных параллельно каналу (расточке) золотника отверстия, в каждом из которых помещены по два ползуна 18, разжатых пружиной 16. Золотник распределителя 21 возвращается и удерживается в нейтральном положении с помощью этих ползунов с пружинами. Кроме того, ползуны создают определенное сопротивление передвижению червяка 22, который упирается в торцы ползунов 18 через специальные шайбы, расположенные с обеих сторон золотника. Это сопротивление необходимо для избежания резкого поворота рулевого колеса (для «ощущения руля»). Корпус распределителя 17 по торцам уплотнен круглыми резиновыми кольцами. Клапанная коробка 19 в стыке с корпусом распределителя в местах, где проходят маслопроводные отверстия, уплотнена также круглыми резиновыми кольцами. Регулируемый предохранительный клапан гидроусилителя МТЗ-82 размещен в клапанной коробке 19. Он состоит из шарика диаметром 5,5 мм, направляющей 20 и седла клапана, пружины, регулировочного винта с резьбой Ml4X1,5, контргайки, защитного колпака и двух алюминиевых прокладок. Седло клапана запрессовано в клапанную коробку.

Цилиндр гидросистемы руля двухстороннего действия и состоит из отрезка стальной цилиндрической трубы, имеющей длину 96 мм, внутренний диаметр 90 и толщину стенки 6 мм, двух крышек 5 и 2, поршня 3 и штока 4. Корпус силового цилиндра и крышки стягиваются между собой и крепятся к корпусу гидроусилителя МТЗ четырьмя болтами. Поршень 3 посажен на уступ внутреннего конца штока 4 и закреплен гайкой, в которой запрессовано пластмассовое кольцо, служащее для предотвращения отвертывания. Крышки 5 и. 2, поршень 3 и шток 4 уплотнены резиновыми кольцами круглого сечения, а кольцо поршня круглого сечения защищено двумя дополнительными шайбами от выдавливания его в зазор. Ход поршня составляет 50 мм.

Рабочая жидкость подводится в штоковую и безштоковую полости цилиндра и отводится от них через штуцеры, расположенные в передней 5 и задней 2 крышках цилиндра. На конце штока поршня 4 шарнирно закреплена рейка 31 при помощи пальца 32. Зубья рейки находятся в зацеплении с сектором 26 поворотного вала 25, а с противоположной стороны зацепления рейка находится на упоре 30, в котором помещается золотник 27 датчика блокировки дифференциала. Упор уплотнен с помощью резинового кольца и привернут к корпусу гидроусилителя МТЗ. Между фланцем упора 30 и корпусом имеются регулировочные прокладки 29, которыми регулируют правильность зацепления рейки и сектора.

Регулировка зацепления сектора с червяком 22 осуществляется поворотом эксцентричной (регулировочной) втулки 23, которая после регулировки фиксируется двумя болтами.

Насос НШ-10ЕУ гидроусилителя рулевого управления МТЗ-82 отличается от обычных насосов НШ-10 тем, что в крышке насоса сделано отверстие для отвода утечек из напорной полости насоса в корпус гидроусилителя (бак гидросистемы).

Корпус 4 представляет собой отлитую из чугуна полую стойку сложной конфигурации высотой 685 мм. Нижняя часть корпуса заканчивается фланцем, в котором имеется четыре отверстия диаметром 17 мм для крепления стойки к раме трактора и два отверстия диаметром 22 мм под установочные штифты. В верхней чашеобразной части стойки размещаются агрегаты рулевого механизма и гидромеханизма усилителя МТЗ.

На боковых поверхностях в верхней части корпуса выполнены соответствующие привалочные плоскости с отверстиями для крепления распределителя и силового цилиндра. В нижней части корпуса 4 имеется два отверстия, одно из которых используется для присоединения всасывающего трубопровода 12, идущего от насоса, а второе — для присоединения спускного патрубка 6. В качестве рабочей жидкости используют дизельное масло:

  • летом — М10В или М10Г;
  • зимой — М8В или М8Г.

При работающем двигателе насос всасывает рабочую жидкость из бака (корпуса усилителя МТЗ) и подает ее в корпус распределителя через клапанную коробку. Дальнейший путь рабочей жидкости зависит от положения золотника 21 в корпусе распределителя. Золотник может быть установлен в три положения: нейтральное и два рабочих. Нейтральное положение золотника 21 обеспечивается тремя пружинами 16 в случае прямолинейного движения трактора или при стоянке на месте.

При нейтральном положении золотника 21 рабочая жидкость, поступающая от насоса через клапанную коробку 19 в корпус распределителя, проходит через щели, образованные кромками среднего пояска золотника и корпусом, к выводным штуцерам через трубопроводы в обе полости цилиндра. В это же время рабочая жидкость поступает через щели, образованные крайними поясками золотника и корпусом, через штуцер и трубопроводы на слив в корпус гидроусилителя МТЗ (в бак). Поэтому при нейтральном положении золотника 21 поршень 3 в силовом цилиндре может свободно перемещаться, не мешая небольшим колебаниям колес, поперечной рулевой тяги и сошки. Толчки и удары от неровностей дороги, оказывающие действие на рулевое управление, благодаря свободному перемещению поршня гасятся окружающей его жидкостью и не передаются на рулевое колесо. Слив рабочей жидкости в бак происходит через сливной фильтр, установленный на конце трубопровода внутри корпуса гидроусилителя МТЗ.

При повороте рулевого колеса вращается червяк 22, вследствие чего на последнем возникает осевая составляющая усилия. Если эта составляющая превышает усилие пружин 16, золотник 21 сдвигается по оси и устанавливается в одно из рабочих положений, обеспечивая подачу рабочей жидкости в штоковую или безштоковую полость силового цилиндра. Так вступает в действие гидромеханизм рулевого управления МТЗ, который создает усилие на поворотном валу 25, в несколько раз больше усилия, прикладываемого трактористом через червяк к тому же валу.

При повороте рулевого колеса вправо червяк благодаря осевому усилию, возникающему в зацеплении с сектором, перемещается вместе с золотником 21 перед на величину зазора между шайбой (кольцом) подшипника и корпусом распределителя.

Когда золотник сдвинут по оси вперед на 0,6 мм, нижние ползуны сдвигаются вверх нижней шайбой подшипника, а наружные торцы верхних ползунов в это время упираются в крышку золотника и поэтому происходит дополнительное сжатие пружин 16. При этом золотник 21 занимает положение, показанное на рисунке 37, б, и открывает доступ рабочей жидкости, подаваемой насосом через нагнетательный трубопровод 33, расточки распределителя и трубопровод 8 в штоковую полость силового цилиндра, а из бесштоковсй полости через трубопроводы 9 и 10 выход рабочей жидкости через сливной фильтр в корпус (бак) гидроусилителя МТЗ (ГУР МТЗ). Поршень силового цилиндра передвинется вперед, захватив с собой рейку, и повернет вал 25, вследствие чего происходит поворот направляющих колес трактора вправо. Таким образом, при сдвиге золотника 21 вперед поршень 3 сдвигается также вперед, но при этом поршень через рейку 31 и сектор 26 стремится возвратить золотник в нейтральное положение. Поэтому, как только поворот закончится (тракторист прекратит вращение рулевого колеса), золотник под действием давления жидкости на поршень и пружин 16 будет установлен в нейтральное положение, а подаваемая рабочая жидкость насосом будет поступать в бак под низким давлением.

При повороте рулевого колеса влево золотник 21 сдвигается назад (примерно на 0,6 мм). Передние ползуны 18 также сдвигаются передней шайбой подшипника назад, а наружные торцы задних ползунов упираются в корпус и таким образом происходит дополнительное сжатие пружин 16, находящихся между передними и задними ползунами, что вызывает дополнительную нагрузку на рулевом колесе, создавая у водителя «ощущение дороги», так как чем круче поворот, тем сильнее сожмутся пружины 16 и тем труднее повернуть колесо. При этом положении золотника открывается доступ рабочей жидкости, подаваемой насосом через трубопровод 33, расточки распределителя и трубопровод 9 в бесштоковую полость силового цилиндра, а из штоковой полости цилиндра выход рабочей жидкости через трубопроводы 8 и 10 на слив в гидробак усилителя МТЗ (рулевая колонка МТЗ).

Поршень 3 силового цилиндра сдвигается назад, увлекая за собой рейку 31, и поворачивает вал 25, вследствие чего происходит поворот направляющих колес трактора влево. После окончания поворота золотник 21 под действием давления жидкости на поршень и пружин 16 устанавливается в нейтральное положение, а рабочая жидкость, идущая от насоса, поступает в корпус (бак) гидроусилителя МТЗ под низким давлением.

Жидкость, уходящая на слив в гидросистеме усилителя, постоянно заполняет трубопровод 6, идущий к золотнику блокировки дифференциала трактора, под давлением 0,8МПа, создаваемого редукционным клапаном 11, установленным на сливной магистрали. Ход золотника составляет по 1,25 мм в одну и другую стороны и ограничивается упором шайб подшипников вперед в крышку 12, а назад — в корпус.

При повороте руля до упора или при повороте колес трактора, находящихся в глубокой колее, в нагнетательной магистрали гидромеханизма усилителя может повыситься давление рабочей жидкости сверх нормального. В этом случае срабатывает (открывается) предохранительный клапан и рабочая жидкость уходит на слив в корпус (бак).

Гидромеханизм усилителя рулевого управления трактора представляет собой следящую систему, так как при смещении золотника в любую сторону от нейтрального положения поршень силового цилиндра смещается в ту же сторону и одновременно стремится возвратить его в нейтральное положение после окончания поворота.

Таблица характеристики гидроусилителя руля (ГУР МТЗ)

Добавить комментарий

Ваш адрес email не будет опубликован. Обязательные поля помечены *

Большой выбор техники

в онлайн-каталоге гидравлическое оборудование можно найти большой выбор моделей разного типа и производителей.

Доступная цена

в сравнении с офлайн-магазинами,
цены на гидравлическое
оборудование на сайте обычно более
доступные.

Онлайн-консультации

на сайте можно получить
квалифицированную консультацию
специалиста по любому вопросу,
связанному с выбором и
эксплуатацией гидравлического
оборудования.

Удобство заказа и доставки

Доставка до вашего объекта: мы
обеспечиваем доставку гидравлического оборудования
прямо на ваш объект в удобное для
вас время. Мы гарантируем
своевременную доставку и
безопасную перевозку гидравлического оборудования.

Подписаться:

Контакты

Телефон: +79289929792

Email: gidro-remont24@mail.ru

Часы работы  9:00 до 18:00

Информация

Адрес:  Россия, г. Краснодар ул. Уральская 106

Способы и варианты оплаты

Мы предлагаем своим клиентам различные варианты оплаты продукции:

наличный расчет
безналичный расчет
безналичный расчет с НДС
расчет на карту банка
электронные системы оплаты
другие варианты.

Все права защищены 2016-2025
payments