Насос P-7 Stalowa Wola (Сталева воля), Насос P-37 Stalowa Wola (Сталева воля), Насос P-106 Stalowa Wola (Сталева воля)
Скидки
При покупке от 100000 руб скидка 5 %
Код_купона_5
Методы оплаты:
Описание
P-106A насос трансмиссии (P2C2110C5B26A) / 5548904, P-37 насос поворота P2C21101613C5B26C23A/5790746/311-92-002 , P-7 насос рабочей системы/ W-021A насос WC40-176C5B26A/P3C3120C5B26A.
Насосы на фронтальный погрузчик L-34 производства «Huta Stalowa Wola» и погрузчики Dressta называют по разному. Мы привыкли называть их сокращенно: P-106, P-37, P-7. Каталожные номера этих насосов трудно запоминаемы и применяются, в основном, только для приобретения запчастей. Привожу их полные номера.
P-106A насос трансмиссии Stalowa Wola (P2C2110C5B26A) / 5548904
P-37 насос поворота Stalowa Wola P2C21101613C5B26C23A/5790746/311-92-002
P-7 Stalowa Wola насос рабочей системы/ W-021A насос WC40-176C5B26A/P3C3120C5B26A.
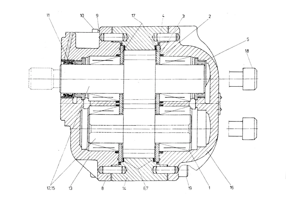
Насос рабочей системы Stalowa Wola P-7 P3C3120C5B26A
Насос гидравлический рабочей системы Р-7 типа Р3С3120С5В26А для фронтальных погрузчиков L-34, L-34B, Dressta. Шестеренчатый, односекционный, для создания рабочего давления в гидравлической системе погрузчика и приведения в действие его рабочих органов. Геометрический объем 175 см. куб. Максимальное давление, создаваемое в рабочей системе погрузчика -150 кГс/см.кв. Производительность насоса при 1500 об/мин составляет – 245 л/мин.
| № | Номер по каталогу | Наименование | Кол-во в комплекте |
|---|---|---|---|
| 311-92-0003 313-11-0036 | Насос рабочей системы P-7A P3C3120C5B26A | ||
| 1 | A340xP5 | Роликоподшипник | 4 |
| 2 | A466xB34 | Уплотнительное кольцо | 4 |
| 3 | A1128xP2 | Уплотнительное кольцо | 4 |
| 4 | A791x107 | Уплотнительное кольцо | 2 |
| 5 | 805xP1 | Уплотнительное кольцо | 2 |
| 6 | 712xP4A | Регулир. подкладка | 1 |
| 7 | 712xP4B | Регулир. подкладка | 1 |
| 8 | A1093xB1 | Вальцовый штифт | 4 |
| 9 | PN-77/M-82008 | Пружинная шайба 42,2 Fe/Fg | 4 |
| 10 | PN-86/M-82144 | Гайка М12-8-В Fe/Fg | 4 |
| 11 | A1097xB6 | Уплотнительное кольцо | 3 |
| 12 | 6x3120xP32 | Шестерня (ведущая) | 1 |
| 13 | 2x31xP3 | Корпус передний | 1 |
| 14 | 1x3120xP31 | Корпус (центральный) | 1 |
| 15 | 6x3120xP31 | Шестерня (ведомая) | 1 |
| 16 | Зх31хР1 | Крышка | 1 |
| 17 | 12x21xP6 | Биметаллическая пластина | 2 |
| 18 | A1083xP1 | Болт | 4 |
| 19 | A1092xP3 | Болт | 4 |
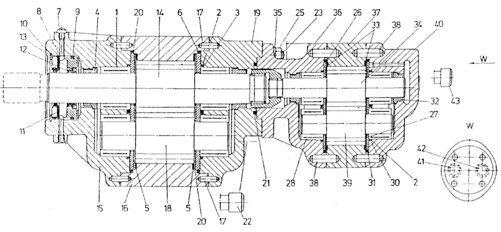
Насос системы поворота Stalowa Wola P-37 P2C2110/1613C5B26C23A
У нас можно купить насос P-37 поворотной системы погрузчика L-34, L-34В, DRESSTA (STALOWA WOLA) 5790746/311-92-002/P2C21101613C5B26C23A. Также у нас можно заказать ремонт вашего насоса Р-37 или ( для экономии времени ) обменять б/у насос Р-37 на новый, со склада.
| № | Номер по каталогу | Наименование | Кол-во в комплекте | |
|---|---|---|---|---|
| 311-92-0002 | Насос гидравлический P-37 системы поворота P2C2110/1613C5B26C23A | |||
| 1 | A1135xB5 | Роликоподшипник | 4 | |
| 2 | A1128xB6 | Уплотнительное кольцо | 4 | |
| 3 | A1175xB4 | Уплотнительное кольцо | 4 | |
| 4 | 805xB47 | Уплотнительная втулка | 2 | |
| 5 | 712xB20 | Регулировочная прокладка | 2 | |
| 6 | A395x83 | Уплотнительное кольцо «0» | 2 | |
| 7 | PN-85/M-82219 | Винт M6x8 | 1 | |
| 8 | M114xB25 | Оправа уплотнительных колец | 1 | |
| 9 | A1055xB14 | Уплотнительное кольцо | 1 | |
| 10 | PN-81/M-85111 | Стопорное кольцо W-70 | 1 | |
| 11 | A1211xB1 | Уплотнительное кольцо | 1 | |
| 12 | A1098xB3 | Уплотнительное кольцо | 1 | |
| 13 | A1097xB2 | Уплотнительное кольцо | 1 | |
| 14 | 6x2110xB14 | Шестерня (ведущая) | 1 | |
| 15 | 2x21xP25 | Корпус передний | 1 | |
| 16 | 1x2110xB8 | Корпус (центральный) | 1 | |
| 17 | A550x5 | Вальцовый штифт | 4 | |
| 18 | 6x2110xB2 | Шестерня (ведомая) | 1 | |
| 19 | 3x21xP19 | Крышка | 1 | |
| 20 | 12x21xB3 | Пластина | 2 | |
| 21 | PN-60/M-86961 | О-кольцо уплотнительное 48,2×3 | 1 | |
| 22 | A136xP11 | Болт | 4 | |
| 23 | PN-60/M-82125 | Шпилька M10x25-8.8 | 4 | |
| 24 | PN-87/M-82029 | Пружинная шайба 10,2 | 4 | |
| 25 | PN-86/M-82008 | Гайка М10-8 | 4 | |
| 26 | 12x16xP4 | Биметалическая пластина | 1 | |
| 27 | 12x16xP3 | Биметалическая пластина | 1 | |
| 28 | A1135xB4 | Роликоподшипник | 4 | |
| 29 | A1128xB4 | Уплотнительное кольцо | 4 | |
| 30 | A1175xB2 | Уплотнительное кольцо | 4 | |
| 31 | A1214xB3 | Прокладка | 2 | |
| 32 | 805xB38 | Уплотнительная втулка | 2 | |
| 33 | 712xP29 | Регулировочная шайба | 2 | |
| 34 | 6x613xB14 | Шестерня (ведущая) | 1 | |
| 35 | 826xB112 | Шлицевая втулка | 1 | |
| 36 | 2x16xP22 | Корпус передний | 1 | |
| 37 | 1x1613xP2 | Корпус (центральный) | 1 | |
| 38 | A1093xB3 | Вальцовый штифт | 4 | |
| 39 | 6x1613xB5 | Шестерня (ведомая) | 1 | |
| 40 | 3x16xP21 | Крышка | 1 | |
| 41 | A1059xB11 | Уплотнительное кольцо «O» | 1 | |
| 42 | A1128xB3 | Уплотнительное колцо | 1 | |
| 43 | A1173xP3 | Болт | 4 |
Насос трансмиссии Stalowa Wola P-106 P2C2110C826A 861-10-0016
Насос P-106 861-10-0016 предназначен для трансмиссии погрузчика Stalowa Wola L-34 (Сталева Воля Л-34). Насос P-106 861-10-0016 участвует в нагнетании минерального масла (или прочих нефтепродуктов), которые не вызывают коррозию рабочих органов насоса, в гидравлическую систему погрузчика. При помощи масляного насоса масло всасывается через всасывающую магистраль из бака. Процесс очистки масла проходит с помощью фильтра со сменным картриджем или сетчатым фильтром, которые обеспечивает удаление инородных частиц.









