Новости

Ремонт ГУР БЕЛАЗ. Ремонт гидроусилителя руля БЕЛАЗ. Ремонт рулевой колонки БЕЛАЗ

Ремонт ГУР БЕЛАЗ. Ремонт гидроусилителя руля БЕЛАЗ. Ремонт рулевой колонки БЕЛАЗ

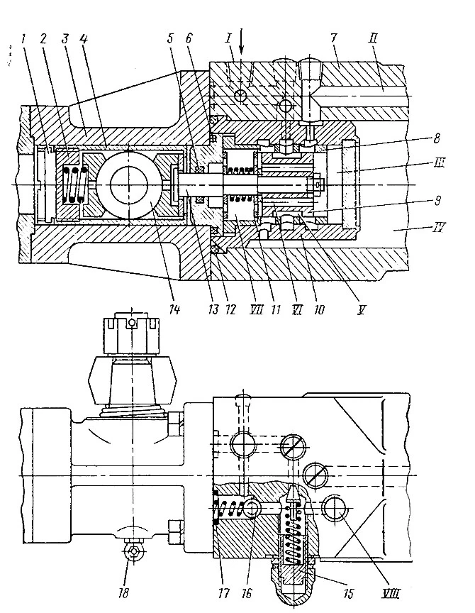
Гидроусилитель руля самосвалов Белаз-540, Белаз-540А, Белаз-548А (рис. 117) состоит из силового цилиндра с поршнем и штоком и золотникового распределителя. На штоке закреплен шаровой шарнир, через который гидроусилитель крепится к раме автомобиля. Другим шарниром, прикрепленным к корпусу распределителя, гидроусилитель соединяется с продольной тягой. К переднему торцу цилиндра крепится распределитель 4. 

В корпус распределителя (рис. 118) установлен стакан 4, который может перемещаться в каждую сторону. В стакан вмонтирован шаровой шарнир, палец которого жестко соединен с рулевой сошкой. С другой стороны со стаканом соединена ось 13, на которой закреплен золотник 9, т. е. золотник соединен с рулевой сошкой через стакан и шаровой шарнир. Втулка 10 распределителя запрессована в цилиндр. Во втулке просверлены радиальные отверстия в соответствии с расположением ее внутренних кольцевых расточек и каналов в цилиндре для сообщения нагнетательного канала I с каналом слива и рабочими полостями усилителя. В гильзе просверлены три ряда радиальных отверстий, совпадающих с проточками во втулке 10: через отверстия среднего ряда полость V золотника сообщается с нагнетательным каналом I, через отверстия левого (по рисунку) ряда — с надпоршневой полостью IV цилиндра, а через отверстия правого ряда — с подпоршневой полостью через канал II. Левая и правая полости золотниковой пары сообщены каналами VI в золотнике.

При нейтральном положении золотника масло от насоса через нагнетательный канал I, отверстия во втулке и гильзе поступает в полость V, а из полости через зазоры-щели между кромками кольцевых поясков золотника, кромками отверстий и сами отверстия в гильзе — в обе полости цилиндра и постоянно через сливной канал сливается в бак. Поскольку масло в обеих полостях цилиндра находится под одинаковым весьма низким давлением (около 4 кГ/см2), определяемым сопротивлением маслопроводов и фильтра, то колеса автомобиля не поворачиваются.

Схема гидроусилителя руля ГУР КРАЗ

Рис. 118. Распределитель гидроусилителя рулевого управления:
I — стопорная пластина; 2 — регулировочная гайка; 3 — корпус; 4 — стакан; 5. 6, 12, 17 — уплотнительные кольца; 7 — цилиндр, 8 — гильза; 9 — золотник: 10 — втулка; 11 — установочные шайбы; 13 — ось; 14 — шаровой палец рулевой сошки; 1) — регулировочный винт предохранительного клапана; 16 — обратный
клапан; 18 — пресс-масленка;
I — нагнетательный канал; II — канал в цилиндре; III и VII— полости; IV — надпоршневая полость; V — полость в золотнике, постоянно сообщающаяся с нагнетательной магистралью; VI — каналы в золотнике;
VIII — сливной канал

При вращении рулевого колеса влево рулевая сошка через шаровой шарнир и стакан смещает золотник влево (по рисунку, вперед — по ходу автомобиля), золотник кромкой правого (по рисунку) пояска разобщает сливной канал VIII и подпоршневую полость (канал II) с нагнетательной полостью V и все масло от насоса через полость Г и левый ряд отверстий в гильзе поступает в надпоршневую полость IV цилиндра. Цилиндр перемещается относительно поршня вперед (по ходу автомобиля), перемещая присоединенную к нему продольную тягу, и колеса автомобиля поворачиваются влево. Масло, вытесняемое поршнем из подпоршневой полости, через канал II н полость III поступает в сливной канал VIII.

После прекращения вращения рулевого колеса золотник остается неподвижным, а силовой цилиндр по-прежнему перемещается влево, как бы надеваясь на золотник, до тех пор, пока золотник не займет в гильзе нейтральное положение и тем самым не сообщит нагнетательный канал со сливным — прекратится перемещение цилиндра и поворот управляемых колес.

При вращении рулевого колеса вправо золотник перемещается вправо (по рисунку, назад — по ходу автомобиля) и масло из нагнетательной полости V золотника через правый ряд отверстии в гильзе и по каналу II в цилиндре поступает в подпоршневую полость. Цилиндр перемещается относительно поршня назад (по ходу автомобиля) — управляемые колеса автомобиля поворачиваются вправо. Масло из надпоршневой полости IV через отверстие во втулке 10, левый ряд отверстий в гильзе, полость VII и торцовые каналы золотника поступает в полость III и дальше в сливной канал.

Для управления автомобилем при неработающем, но неповрежденном гидроусилителе в цилиндр вмонтирован обратный клапан, позволяющий рабочей жидкости перетекать из одной полости в другую при воздействии внешних сил на цилиндр, т. е. при приложении усилия к рулевому колесу.

Для ограничения давления масла в нагнетательной магистрали системы и предохранения элементов системы от разрушения в цилиндре установлен предохранительный клапан, отрегулированный на максимальное давление в магистрали 85 кГ/см2; при повышении давления в системе гидроусилителя до величины, ограничиваемой клапаном, клапан-конус перемещается вниз (по рисунку) и нагнетательный канал I сообщается со сливным каналом VIII.

Гидроусилитель руля КАМАЗ. Рулевая колонка КАМАЗ. ГУР КАМАЗ

Насос ГУР ЗИЛ . Сравнить цены, купить

Ремонт ГУР Man, Ремонт ГУР Scania, Ремонт ГУР Daf, Ремонт ГУР Iveco, Ремонт ГУР Mercedes, Ремонт ГУР Faw, Ремонт ГУР Volvo, Ремонт ГУР Kenworth, Ремонт ГУР Tatra, Ремонт ГУР HINO, Ремонт ГУР USO CANTER, Ремонт ГУР HYUNDAI HD, Ремонт ГУР ISUZU, Ремонт ГУР

ГУР КРАЗ . Сравнить цены, купить гидроусилитель руля КРАЗ новый

ГУР К-700 . Сравнить цены, купить гидроусилитель руля К-700 новый

ГУР КАМАЗ 5320 . Сравнить цены, купить гидроусилитель руля КАМАЗ-5320 новый

ГУР КАМАЗ 4310 . Сравнить цены, купить гидроусилитель руля КАМАЗ-4310 новый

Гур ЗИЛ-130 . Сравнить цены, купить гидроусилитель руля ЗИЛ-130 новый

Гур К-701 . Сравнить цены, купить гидроусилитель руля К-701 новый

Гур Т-150 . Сравнить цены, купить гидроусилитель руля Т-150 новый

Как поменять сальник ГУР на DAF, MAN, Scania, Iveco, Vovlo, Renault, Kenworth

Гур Т-40 . Сравнить цены, купить гидроусилитель руля Т-40 новый

Гур ЮМЗ . Сравнить цены, купить гидроусилитель руля ЮМЗ новый

Гур МТЗ . Сравнить цены, купить гидроусилитель руля мтз 80 новый

Ремонт ГУР RBL, Ремонт ГУР MAN TGA, Ремонт ГУР MAN TGL, Ремонт ГУР MAN TGM

Ремонт ГУР RBL, Ремонт рулевого редуктора RBL, Ремонт рулевой колонки RBL

Ремонт ГУР MAN, Ремонт ГУР DAF, Ремонт ГУР Volvo, Ремонт ГУР Iveco, Ремонт ГУР Renault, Ремонт ГУР Mercedes, Ремонт ГУР Scania, Ремонт ГУР Kenworth

Неисправности насоса гидроусилителя руля. Поломки насоса ГУР

Рулевая колонка МТЗ, ГУР МТЗ, Гидроусилитель керма МТЗ

Новый гидроусилитель руля ЗИЛ-130, Новый ГУР ЗИЛ-130, Новая рулевая колонка ЗИЛ-130

Новый гидроусилитель руля ЮМЗ, Новый ГУР ЮМЗ, Новая рулевая колонка ЮМЗ

Купить новый ГУР КАМАЗ

ГИДРОУСИЛИТЕЛЬ РУЛЕВОГО УПРАВЛЕНИЯ ТРАКТОРОВ МТЗ-80 (МТЗ-82). ГУР МТЗ

Новый гидроусилитель руля Т-150, Новый ГУР Т-150, Новая рулевая колонка Т-150

Гур ЮМЗ цена, где купить

Новый гидроусилитель руля МТЗ, Новый ГУР МТЗ, Новая рулевая колонка МТЗ

Ремонт ГУР КАМАЗ, Ремонт рулевой колонки КАМАЗ, Ремонт гидроусилителя руля КАМАЗ

Ремонт ГУР Man, Scania, Daf, Iveco, Mercedes, Faw, Volvo, Kenworth, Tatra, HINO, USO CANTER, HYUNDAI HD, ISUZU, Ford, Foton

Сборка и разборка ГУР ЗИЛ, Причины поломки и способы устраниния. ТО ГУР ЗИЛ-130

Причины поломки ГУРа ЮМЗ. Ремонт ГУР ЮМЗ своими руками.

Ремонт насоса-дозатора Calzoni, Ремонт гидроруля Calzoni, Ремонт ГУР Calzoni

Добавить комментарий

Ваш адрес email не будет опубликован. Обязательные поля помечены *