Новости

Ремонт шестеренных насосов. Ремонт шестеренчатых насосов

Ремонт шестеренных насосов. Ремонт шестеренчатых насосов. Ремон насосов НШ . Ремонт импортных шестеренчатых насосов НШ.

Компани проводит качественный и быстрый ремонт шестеренчатых насосов НШ отечественных и импортных производителей любого объемаи конфигурации. Работаем на базе специализированного завода в городе Мелитополе. Имеем в распоряжении огромный станочный парк, и грамонтных инженеров-гидравликов. На весь выполненный ремонт насоса НШ предоставляется гарантия. После ремонта все насосы НШ проходят стэндовые испытаня на специальном оборудовании имитирующем работу в реальных условиях. 

В процессе эксплуатации оборудования его составные части подвергаются постоянному износу, динамическим нагрузкам, трениям, что приводить к преждевременным отказами оборудования. Шестеренный насос не является исключением. Ремонт шестеренных насосов является необходимой составляющей при ремонте гидравлической части оборудования.

Во избежание поломки насоса необходимо проводить периодические осмотри и ППР (планово-предупредительные работы). Даже соблюдая все требования по эксплуатации и обслуживания насоса, невозможно предсказать его точное время поломки.

Ниже представлена таблица с основными видами неисправностей шестеренного насоса, причинами возникновения и методами устранения. 

Вид неисправности гидронасоса и 

видимое проявление отказа

Возможная причина

Способ обнаружения и устранения

неисправности

Повышенная вибрация

насосной установки.

1.Ослабление крепления

насоса к установочному

кронштейну или самого

кронштейна

2.Несоосность валов насоса

и электродвигателя.

3.Повреждение приводной 

муфты(ббольшой износ или

разрушение эластичных

элементов).

1.На ощупь, при выключенном электродвигателе.Подтянуть винты крепления

и обеспечить их контровку.

2.Определить биение полумуфт с помощью

индикаторной стойки.Выставить насос так, 

что бы биение полумуфт не превышало 0,2мм

( одной относительно другой).

3. При выключенном электродвигателе определить наличие углового люфта между полумуфтами.

Заменить эластичные элементы.

Повышенный шум

механического происхождения и повышенная температура корпуса насоса.

1.Ослабление закрепления

насоса и электродвигателя.

2. Износ подшипников или 

задиры на их поверхностях.

Контакт шестерен с расточкой 

корпуса.

1.На ощупь, при выключенном электродвигателе.Подтянуть винты крепления насоса

электродвигателя, кожуха электродвигателя, 

проверить отсутствие контакта вентилятора с 

кожухом.

2.Наличие в масле мелкой металлической пыли

из материала корпуса.Разобрать насос и заменить

новым.

Повышенный шум

гидравлического происхождения.Резкие колебания

давления на выходе насоса.

1. Низкий уровень жидкости в гидробаке.

2.Засорение или негерметичность всасывающей магистрали,

эрозионный износ деталей

из-за кавитации.

1.Наличие пены на поверхности масла в баке.

Долить масло до верхней отметки уровня.Заливка

масла другой марки не допускается!

2.Вибрация нагнетательной трубы, шум высокого 

тона.Наличие в масле металлической пыли из 

материала пластин или крышек. Подтянуть 

элементы крепления трубопровода.Разобрать

всасывающий трубопровод, проверить целостность

уплотнений, отсутствие посторонних предметов в 

нем.Разобрать насос и осмотреть детали для 

проверки их состояния.Заменить насос новым.

Отсутствие подачи в нагнетательную магистраль.

Отсутствие перемещения

рабочих органов машины.

1.Поломка приводной муфты или

вала насоса.

2.Непроходимость или негерметичность всасывающей магистрали насоса.

1.Провести несколько кратковременных запусков

электродвигателя, наблюдая за вращением вала 

насоса.При отсутствии вращения или прерывистом

вращении, демонтировать насос, осмотреть муфту

и вал.Заменить муфту или насос.

2.Давление на выходе насоса отсутствует. Подтянуть

элементы крепления всасывающего трубопровода.

Разобрать трубопровод, проверив целостность 

уплотнений, трубы или рукава, проверить проходимость трубопровода.После разборки уплотнения

заменить новыми.

Наружная течь масла.

1.Износ уплотнительного узла вала.

2.Ослабление крепления нагнетательного трубопровода, разрушение уплотнений.

1.Визуально уточнить место течи.Разобрать соединение в месте течи, проверить состояние деталей

и уплотнений.Уплотнения заменить новыми.

2.Подтянуть элементы крепления трубопровода.

Снижение подачи насоса,

замедленное перемещение рабочих органов машины.

1.Износ деталей качающего узла насоса,торцевых поверхностей крышек или пластин, опорных втулок.

2.Чрезмерно высокая температура масла.

1.Определяемое на ощупь повышение температуры

корпуса насоса по сравнению с обычной. Разобрать

насос и проверить состояние деталей.При незначительных повреждениях и следах износа на торцах

 шестерен и пластин или втулок исправить их путем

притирки.Замена насоса новым.

2.При температуре масла выше 65-79˚С определить причину повышения температуры и устранить

(неправильная настройка клапана, отказ теплообменника и т.д.)

 

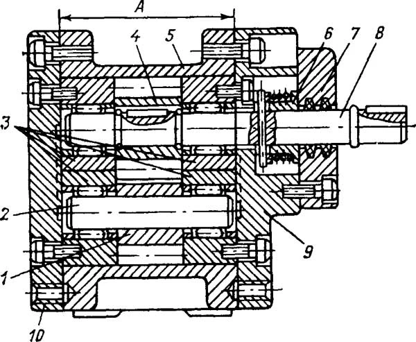
На потерю производительности, развиваемой шестеренчатым насосом при определенных давлениях, особенно большое влияние оказывает увеличение торцовых зазоров между шестернями 1 и 4 и опорными втулками 3 (Смотреть рисонок ниже). Утечки через торцевые зазоры примерно в 3 раза больше, чем через радиальные зазоры при равном значении этих зазоров, так как при вращении шестерен создается сопротивление течению масла по радиальным зазорам между выступами зубьев и расточенным отверстием в корпусе; кроме того, путь движения масла по радиальным зазорам из полости нагнетания в полость всасывания значительно больше, чем по торцовым зазорам. В то же время вращение шестерен содействует утечке масла через торцовые зазоры по ходу их вращения.

Таким образом, увеличение торцовых зазоров является основной причиной уменьшения производительности и снижения давления масла насосов.

При разборке насоса после длительной его эксплуатации обычно обнаруживается износ корпуса 5 в зоне шестерен 1 и 4 по всей поверхности валиков 2 и 8 и опорных втулок 3. Фланцы насоса 9 и 10 износу практически не подвергаются. Особенно сильно изнашиваются соприкасающиеся торцы шестерен и опорных втулок, на поверхностях которых образуются кольцевые задиры, волнистость и др.

Капитальный ремонт насоса, связанный с реставрацией корпуса и заменой шестерен, целесообразно производить только в хорошо организованных ремонтных хозяйствах. Однако и в этом случае при ремонте обычно не восстанавливают изношенную внутреннюю поверхность корпуса, так как радиальный зазор со стороны нагнетательного отверстия после замены изношенных шестерен и подшипников почти равен зазору у нового насоса, а увеличенный из-за насоса зазор со стороны всасывающего отверстия не будет оказывать существенного влияния на нормальную работу насоса.

Ремонт шестерен насоса зависит от характера их износа. Износ торцов зубьев устраняют шлифованием при соблюдении параллельности плоскостей торцов и их перпендикулярности к оси зубчатого колеса в пределах 0,015 мм. Шестерни с изношенным профилем зубьев заменяют новыми.

Видео РЕМОНТ ШЕСТЕРНЫХ НАСОСОВ

Обычно шестерни изготовляют из стали 45 или из стали 40Х с закалкой при нагреве токами высокой частоты. Вновь изготовленные или реставрированные шестерни должны удовлетворять следующим техническим условиям: торцевое биение шестерни — не более 0,01 мм; непараллельность торцов — не более 0,015 мм; биение наружной поверхности относительно отверстия — 0,015-0,02 мм; конусность и овальность по наружной поверхности — не более 0,02 мм.

Изношенные в посадочных местах подшипников валики шестерен заменяют новыми, реже восстанавливают. Валики изготовляют из стали 20Х, цементируют на глубину до 1,2 мм и закаливают до твердости HRС 60-62. Шейки валиков, которые являются поверхностями качения игл, тщательно шлифуют и доводят до шероховатости Rа = 0,10 мкм.

Опорные валики игольчатых подшипников восстанавливают или заменяют новыми. При восстановлении опорных втулок их изношенные торцы шлифуют для устранения следов износа. После шлифования торцов необходимо восстановить канавки для прохода масла между зубьями. Отверстия опорных втулок расшлифовывают до диаметра, необходимого для установки ближайшего по размеру стандартного игольчатого подшипника, учитывая при этом диаметр шейки восстановленного или замененного валика.

Для обеспечения нормальной работы шестерен насоса опорные втулки шлифуются попарно в один размер, при этом параллельность торцов должна быть в пределах 0,01 мм. Биение наружной цилиндрической поверхности втулки относительно оси ее отверстия допускается до 0,01 мм, а биение торцов относительно оси отверстия на наибольшем диаметре должно быть не более 0,01 мм. Соблюдение этих условий гарантирует отсутствие защемления шестерен при малых торцевых зазорах.

После восстановления или замены шестерен и опорных втулок определяется их общая ширина. С учетом этого размера шлифуют один из торцов корпуса, чтобы длина посадочного отверстия в корпусе (размер А, рис. 52) была на 0,06-0,08 мм больше общего размера по ширине шестерни и двух опорных втулок. При шлифовке корпуса непараллельность его торцов должна быть обеспечена в пределах 0,01-0,02 мм. Равномерность и величина обеспеченного торцевого зазора между шестернями и торцами втулок является основным критерием качества ремонта насоса. В отдельных случаях требуемый торцевой зазор может быть обеспечен с помощью прокладок из фольги, которые устанавливаются между торцами корпуса и фланцами. Однако этот метод регулировки недостаточно надежен и рекомендуется только в отдельных случаях до очередного планового ремонта.

Для нормальной работы насоса необходимо, чтобы торец бурта втулки 6 (см. рис 52) по всей поверхности прилегал к грундбуксе 7. При ремонте грундбуксу шлифуют по плоскости до устранения следов износа. Торец бурта втулки тоже шлифуют, выдерживая перпендикулярность торца к оси отверстия втулки; биение торца не должно превышать 0,01 мм.

Видео РЕМОНТ ШЕСТЕРЕНЧАТЫХ НАСОСОВ НШ

Сборка и стендовые испытания насоса НШ после ремонта

Перед сборкой все детали ремонтируемого насоса необходимо промыть в керосине и смазать тонким слоем минерального масла, а игольчатые подшипники промыть в бензине и смазать солидолом. Плоскости корпуса, крышек и втулок не должны иметь забоин и царапин. Сборку насоса необходимо вести так, чтобы изношенная внутренняя поверхность корпуса была со стороны всасывающего отверстия, т. е. слева, если смотреть со стороны приводного вала, а дренажные каналы на втулках были выведены в ту же сторону.

Во избежание зажима и перекоса валов и шестерен винты крепления фланцев необходимо завертывать попеременно и до отказа, при этом легкость вращения валиков проверяют от руки.

Отремонтированный насос подвергают испытанию на специальном стенде для определения производительности и объемного коэффициента полезного действия (к. п. д.).

Объемный к. п. д. представляет собой отношение производительности насоса при определенном давлении к его же производительности без давления. Он характеризует качество ремонта насоса. Чем точнее и с меньшими зазорами изготовлены сопрягаемые детали, тем меньше внутренние утечки в насосе и тем большее значение объемного к. п. д.

 

Таблица применяемости шестеренчатых насосов НШ

Ремонт импортных шестеренчатых насосов НШ

Применяемость шестеренных насосов НШ и гидрораспределителей на тракторах МТЗ

Ремонт шестеренчатых насосов, Ремонт насосов НШ, Ремонт шестеренных насосов

Добавить комментарий

Ваш адрес email не будет опубликован. Обязательные поля помечены *